Ein
Brenner für den Stirlingmotor
Stirlingmotoren
zu bauen
ist eine große Herausforderung, gerade weil es keine Vorbilder gibt,
die man
einfach abkupfern kann. Aber Brenner für Stirlingmotoren gibt es noch
weniger
von der Stange. Und der beste Stirlingmotor nutzt nichts ohne einen
angepassten
Brenner. Spätestens wenn man über das Niveau des Demonstrationsmotors
(siehe
Stirlingpyramide) hinaus will, muss man sich mit einem angepassten
Brenner
beschäftigen. Denn ab diesem Niveau geht es um die Verkaufbarkeit der
Aggregate
und einem Käufer und Anwender sind hohe Stirling-Wirkungsgrade (siehe
Beitrag
„Wirkungsgrad“ auf dieser Homepage) völlig egal. Er schaut nur darauf,
wieviel
Brennenergie er oben hineinsteckt und wieviel elektrische Energie unten
herauskommt. Für den Betreiber ist also der Aggregat- oder
Anlagen-Wirkungsgrad
entscheidend.
Was
aber heißt
„angepasster Brenner“? Um uns das klar zu machen, schauen wir uns
zunächst
nicht angepasste Brenner an. Wie wäre es damit: Erdgasbrenner (Kaltluft
ansaugend) beheizt mit den Flammenspitzen direkt den
Stirlingmotor-Heißteil.
Anschließend geht das Abgas durch einen Kessel und gibt seine Restwärme
ab.
Klingt doch ganz vernünftig – schließlich geht das Abgas nicht mit
800°C aus
dem Schornstein, sondern wird noch einmal genutzt, um Heizungswasser
bereitzustellen. Dabei leiten wir das Rücklaufwasser von den
Heizkörpern bzw.
von der Fußbodenheizung natürlich zuerst durch den Kühler des
Stirlingmotors,
um den Wirkungsgrad des Motors zu erhöhen und erst anschließend durch
den
Kessel. Alles richtig gemacht? Ja, vielleicht für das Niveau eines
Demonstrationsmotors. Aber der Aggregat-Wirkungsgrad dürfte damit immer
noch
bei bescheidenen 12% liegen.
Es
geht mehr:
Der
entscheidende
Quantensprung in der Stirlingbrenner-Entwicklung war der Brenner mit
Frischluft-Vorwärmung. Bereits die Philips-Motoren von 1955 verfügten
über
einen solchen „air pre-heater“ (Seite 146 im Buch „The Philips Stirling
Engine“
von C.M. Hargreaves). Das Prinzip ist einfach: Man schiebt die
Wärmeenergie aus
dem Abgas per Gegenstrom-Wärmeübertrager in die Frischluft. Die
Frischluft wird
bis zu 600°C vorgewärmt und erst dann mit dem Erdgas gemischt und
entzündet.
Die Flamme braucht also nicht das Gemisch von 30°C auf 600°C hochjagen
–
diese
Energiemenge ist eingespart – und so genügt nun lediglich eine kleine
Flamme,
um dieselbe Wärmeleistung in den
Erhitzerkopf zu
bringen. Das erste Bild zeigt eine sehr einfache Anordnung mit einem
kupferverlöteten Plattenwärmeübertrager für den Motor, der im zweiten
Bild zu
sehen ist. Oben befinden sich der Gasanschluss eine extrem lange
Zündkerze und ein Flammendetektor. Am
unteren
Ende des Wärmeübertragers befindet sich Zuluft und dahinter Abgas (im
zweiten
Bild
Zuluft
mit Ventilator rechts und Abluft-Alu-Schlauch
links (200°C).
|  |  |  | 
| Bild1: Brenner mit Frischluftvorwärmung
 | Bild2: Brenner auf LS1-100
 | Bild3:
Brenner
isoliert | 
Im
dritten Bild sieht
man, dass der Brennraum noch ein Schaurohr mit Glasfenster für die
Beobachtung
der Flamme erhalten hat. Wichtiger allerdings ist die Isolation aus
Keramikfasern, die Halbschalen als Ummantelung um den Brennraum und die
Keramikwolle um den Wärmeübertrager. Als das Bild entstand, war
außerdem der
obere Rand des Brennraumes noch nicht isoliert. Wie man trotzdem sehr
schön
erkennen kann, ist die Oberfläche der gesamten Isolation vielfach
verwinkelt.
Dadurch kann viel Wärme ungenutzt in die Umgebung gelangen. Da bietet
es sich
an, den Frischluft-Vorwärmer ringförmig um den Brennraum zu
konstruieren.

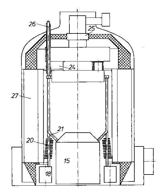
Das
vierte Bild zeigt
die Brenner-Konzeption eines Philips-Motors aus dem oben erwähnten
Buch. Ziffer
27 weist auf den ringförmigen Vorwärmer hin. Die Isolation ist hier
allerdings
nicht vollständig dargestellt. Sie muss dort, wo die Temperatur hoch
ist,
besonders dick sein, damit an der Oberfläche ungefähr dieselben
Temperaturen
anliegen. Das sechste Bild zeigt einen Brenner mit diesem Vorteil. Er
besitzt
einen konischen Frischluft-Vorwärmer, der aus drei Blechen besteht.Der
mittlere der drei Bleche ist mit Noppen ausgestattet,
die im Wechsel beidseitig die anderen Bleche auf Abstand halten, so
dass
dazwischen die Luft strömen kann. Außerdem überträgt dieses Noppenblech
die
Wärme. Zum Krümmer rechts unten wird die kalte Luft eingeblasen,
verteilt sich
im Ringkanal und strömt außen am Noppenblech nach oben. Das verbrannte
Abgas
verlässt den Brennraum oben und strömt innen am Noppenblech nach unten.
Im
Sammelkanal unten befindet sich noch ein geripptes Wasserrohr, so dass
das
Abgas links unten aus dem Krümmer nur noch mit 160°C den Brenner
verlässt.
|  |  | 
| Bild5: Brenner bei
Mayer&Cie 1999 | Bild2: Torus im
Brennraum | 
Doch
damit nicht genug.
Dieser Brenner enthält noch eine Besonderheit,
die auf
den ersten Blick nicht zu sehen ist.  Das
Gasgemisch wird
in Achsmitte stark beschleunigt und bildet ein Torus. (Deshalb die
halkugelförmige Oberseite des Brennraumes.) Dabei zirkuliert
das Gas
5-9 mal im Torus, bis es als Abgas den Brennraum verlässt. Das senkt
die
Stickoxid- und Kohlenmonoxid-Emissionen erheblich. Außerdem geht die
Geräuschentwicklung des Feuers auf praktisch null herunter. Aus
folgendem
Grund: In einem normalen Feuer ist die Richtung des Gases die gleiche,
wie die
des Feuers. Damit das Feuer nicht ausgeht, muss am Rand des Feuers eine
Zündungs-Front gegen die Gasströmung ankämpfen. Diese Zündungsfront
besitzt
aber keine konstante Geschwindigkeit, sondern erfolgt ruckartig, je
nach
Gasgeschwindigkeit mehrere Male in der Sekunde bis mehrere tausend Mal
in der
Sekunde. Die Luft um die Zündungs-Front vibriert entsprechend. Dabei
werden
Schallwellen erzeugt. Bei langsamen Gasgeschwindigkeiten, z.B. eines
Holzfeuers
hören wir typischerweise ein Brabbeln, bei einem Gasbrenner (hohe
Gasgeschwindigkeiten) ein Brummen oder sogar ein Fauchen. Bei diesem
Brenner
für Stirlingmotoren dagegen verstummt nach einer kurzen Aufwärmphase
das fauchende
Geräusch, weil
das Gasgemisch mit einsetzender Stabilisierung des Torusses quasi von
hinten
gezündet wird – mit dem Gasstrom. Eine solche
Zündung erfolgt kontinuierlich,
ohne Vibrationen und damit absolut leise. Auch das Flammenbild sieht
anders
aus. Eigentlich sieht man gar keine Flamme, weshalb dieses
Brennerkonzept auch
„flammenlose Oxidation“ und der Brenner abgekürzt Flox-Brenner genannt
wird.
Aber die starke Abgabe an Hochtemperatur-Wärme auf einen Erhitzerkopf,
der von
unten in den Brennraum eingeführt wird, spricht auch ohne sichtbare
Flamme für
diesen Brenner. Übrigens, Biogas, Klärgas oder Holzgas kann ebenfalls
mit dem
Flox-Brenner verfeuert werden.
Will
man Holz bzw. Holzpeletts direkt verbrennen, sollte
der Erhitzer mit seinen Röhrchen um die Flamme positioniert sein, ohne
dass die
Flammenspitzen an den Röhrchen anstoßen. Wenn dieses „Anstoßen“
vermieden wird,
gehen die Kohlenmonoxid-Emissionen stark nach unten. Solche Holzbrenner
– auch
mit Frischluft-Vorwärmung – sind Neuland, aber dürften für kleine
Stirlingmotoren schnell Standard werden. Eine besondere Herausforderung
der
kleinsten unter ihnen, nämlich die mit Peletts-Pfannen, wird wohl die
Vereinzelung der Peletts darstellen, die exakt kontinuierlich in die
Pfanne
fallen müssen.

Nun
noch ein Wort zu dem
Ventilator für die Frischluft. Er muss nicht nur eine Flammendüse
überwinden,
sondern zweimal komplett die Strömungswiderstände im
Frischluft-Vorwärmer –
einmal beim Vorwärmen und ein zweites Mal beim Abkühlen. Deshalb setzt
man sehr
starke, schnelllaufende Ventilatoren ein. Dadurch wird der Ventilator
allerdings zum lautesten Nebenaggregat an der Gesamtanlage, lauter als
die
Laufgeräusche des Stirlingmotors, wenn dieser spielfrei gebaut wurde.
Da aber
unser Stirlingmotor gerade in den Kellern von Einfamilienhäusern
Verbreitung finden
soll, sind solche Geräusche vor allem in der Schlafenszeit nicht
tolerierbar. In
der Industrie würde man bei entsprechenden Drücken ein
Seitenkanal-Gebläse einsetzen.
Aber dessen Geräuschpegel ist noch höher. Und für den Einsatz von
Kompressoren ist
der benötigte Druck noch viel zu gering. Eine mögliche Lösung wären
mehrere,
normal-schnelle Ventilatoren hintereinander geschaltet, die allerdings
zusammen
ein großes Volumen einnehmen. Nein, die Ventilator-Flügelräder gehören
alle auf
eine Welle. Mehrstufige Wasserpumpen nach diesem Prinzip gibt es
bereits. Oder man entwickelt irgendwann einen Hochdruck-Ventilator
nach dem Ljungström-Prinzip (siehe Bild rechts). Aber das ist noch
Zukunftsmusik...
Druckversion
zurück zum
Inhaltsverzeichnis (home)