Wir
alle kennen das Geräusch, wenn die Waschmaschine ihren
Schleudergang einlegt und unsanfte Vibrationen im ganzen Haus
verkünden, dass
in Kürze die Wäscheleine gefüllt werden kann.
Ein
solches unrundes Gehopse will man bei Motoren natürlich vermeiden,
besonders
wenn der betreffende Motor als Kraft-Wärme-Kopplung direkt im Haus
seinen Platz
finden soll. Nur wenn Nachts im gleichen Haus geschlafen werden kann,
ist eine
Micro-KWK marktreif.
Das gilt im Besonderen auch für den Stirlingmotor. Wenn das lauteste Geräusch vom Frischluft-Ventilator kommt, sollte man sich die Laufkultur seines Stirlingmotors nicht durch eine Unwucht wieder zunichte machen lassen. Deshalb sollten wir Wert auf eine gute Auswuchtung legen. Und das gilt auch und gerade bei Modell-Motoren, unserem Aushängeschild für eine breite Markteinführung und Vorreiter der Stirlingtechnologie.
Über
die Auswuchtung von Stirling- und Ridermotoren findet man so gut wie
gar nichts
in der Literatur oder im Internet. Deshalb hier einige Tips, wie man
dabei
vorgehen kann. Auf eine im Maschinenbau übliche Berechnung der Kräfte
will ich
dabei ganz bewußt verzichten. Die Berechnungen sind für den ungeübten
Hobby-Ingenieur kompliziert genug. Hier die Vorgehensweise:
Alle
Teile des Verdrängersystems auflistenDie
Kolbenunwucht des Verdrängertriebwerkes beträgt in unserem Fall also
22,4 gcm.
Alle
Teile des Arbeitskolbensystems
auflisten
Die
Kolbenunwucht des
Arbeitskolbentriebwerkes beträgt 22 gcm.
(Warum
nicht beide Kolbenunwuchte zusammen? Ganz einfach, weil immer der
Kolben
von der Backe ausgewuchtet werden muss, der gerade im Totpunkt steht.
Und da
bei einem 90°-Motor immer nur ein Kolben zur Zeit
im Totpunkt stehen
kann, brauchen wir nur diesen auszuwuchten. Natürlich müssen wir, wenn
sich die
Kurbel um 90°
weitergedreht hat, den
anderen Kolben auch auswuchten, weil dieser dann im
Totpunkt steht. Aber dies
geschieht – wie wunderbar - automatisch, weil sich die Backe ja auch um
90°
gedreht hat...usw.)


Ganz
stimmt die Sache noch nicht, denn die Unwucht der
rotierenden Massen auf der gegenüberliegenden Seite der Backe müssen
abgezogen
werden. Das sind: Kurbel, Kurbelhals und rotierende Anteile der beiden
Pleuel.
Der Radius, mit dem diese Massen multipliziert werden müssen, ist
natürlich der
Kurbelradius (in unserem Fall 0,8 cm). Wenn wir diese Unwuchte von
vielleicht 3
gcm von den 30 gcm abziehen, lautet die Rechnung:
Damit
haben wir jetzt einen normalen
90° bzw. V-Motor ausgewuchtet. Wer
sich einen Beta-Stirling oder
gar einen verbesserten
Gamma-Stirling mit 80°, 70° oder 60° konstruieren will, hat mehr zu tun
und
sollte noch weiterlesen. Wir
können
Beta-Maschinen auf zweierlei Weise auswuchten. Bei der ersten der
beiden
Varianten
wird die Berechnung oben mit Hilfe der zwölf Schritte vorausgesetzt.
Wenn
wir unseren Heißteil nicht mit
einer Temperatur von 650°C (bei Erdgasflamme)
betreiben wollen, sondern mit zB. nur 350°C (bei Holzverbrennung und
Biogasflammen), ist es von Vorteil, wenn wir das Kolbenverhältnis
(Arbeitskolbenhubvolumen zu Verdrängerhubvolumen) verkleinern. Das kann
dadurch
geschehen, dass der Verdränger einen größeren Durchmesser erhält als
der
Arbeitskolben. Zusätzlich oder stattdessen kann man aber auch den
Kurbelradius
variieren. Bleiben wir in unserem Beispiel bei einem Kurbelradius von
0,8 cm für
den Arbeitskolben und verpassen wir dem Verdrängersystem einen
Kurbelradius von
1,2 cm. Dann muss die Verdrängersystem-Masse von 28g mit 1,2 cm
multipliziert
werden. Dies ergibt eine Unwucht von 33,6 gcm. Das Parallelogramm
bekommt
jetzt eine besondere Gewichtung
in Richtung
Verdrängerkurbel. Es wird wieder
so
gedreht, dass der dicke Pfeil auf der Zylinderachse liegt. (Pfeilbild
ähnlich wie oben bei der Beta-Maschine mit verschiedenen Massen). Soweit
diese verschiedenden
Varianten von Beta-Maschinen.
Immer haben wir dabei am Schluß den dicken Pfeil herausbekommen. Die
Länge
dieses dicken Pfeils messen wir jetzt aus.
Denn ab jetzt benutzen wir für die nächsten
Berechnungsschritte nur noch
diesen Pfeil. Dieser hat z.B. 32,5 mm Länge, was einer Unwucht von 32,5
gcm
entspricht. Diese
Unwucht von 32,5 gcm muss nun
durch eine Kurbelbacke
ausgewuchtet werden, die ebenfalls eine Unwucht von 32,5 gcm aufweist.
Das
Verfahren zur Ermitllung der Geometrie der Kurbelbacke ist dasselbe wie
in
Punkt 7 bis 12 beim 90°-V-Motor.
Als
Beispiel für eine solche
Auswuchtung möchte ich meinen
Stirlingmotor LG1-100 nennen. Auf dem Schemabild befindet sich die
Kurbel des
Ausgleichspleuels halb versteckt zwischen den beiden anderen
Kurbelpunkten.
Sein Kurbelradius ist kleiner als die Kurbelradien der beiden anderen
Kurbeln.
Dafür ist das Gewicht auf dem Anlenkhebel entsprechend größer. Auf dem
Bild
sieht man den Motor bei der Montage. Das Auswuchtpleuel ragt in einen
extra
Kasten, indem sich der Anlenkhebel befindet. Die Kastenwand dazwischen
konnte
aus Stabilitätsgründen nicht weggelassen werden, da der Motor mit 70
bar Helium
aufgeladen wurde.
Diese
Art der Auswuchtung stellte
sich bei diesem Motor
als sehr erfolgreich heraus. Der Versuch mit der aufrecht stehenden
Münze, den
ich bis dahin mehr sprichwörtlich verstanden hatte, konnte man
tatsächlich bei
voller Drehzahl in allen Himmelsrichtungen durchführen, ohne dass die
Münze
umfiel. Bisher
haben wir Betamaschinen ohne
Winkelhebel
betrachtet. Aber das oben beschriebene Verfahren funktioniert natürlich
auch
mit Winkelhebel. Dabei fällt der Kurbelzapfen für den Verdränger
einfach weg. Auswuchttechnisch
muss man sich aber eine solche Kurbel aufzeichnen, sonst kann man nicht
die
Richtung und die Länge des dicken Pfeils ermitteln. Und genau in der
Richtung
des dicken Pfeils muss wieder die Auswuchtkurbel angebracht werden. Auf
der Abbildung sieht man auch, dass sich das Winkelhabel-Triebwerk
räumlich mit dem Auswucht-Triebwerk ins Gehege kommt, wenn es nicht auf
der anderen Seite platziert wird. Solch ein Getriebe wird sehr breit
und
es ist dann besser, man sucht nach einer anderen Lösung wie die
Boxer-Auswuchtung, aber dazu gleich mehr. Die Massen für den
Winkelhebel können wir übrigens ruhig vernachlässigen. Sie
sind meist
sehr klein gegenüber dem Verdränger. Nun
zur anderen Möglichkeit, einen
Beta-Stirlingmotor
auszuwuchten. Dabei macht man sich die Bauweise der sogenannten
Boxermotoren
zunutze. Diese Zweikolben-Maschine ist immer ausgewuchtet. Sie benötigt
nur zur
Kompensierung der rotierenden Massen der Kurbel, dem Kurbelhals und den
rotierenden Anteilen der Pleuel eine sehr kleine Auswuchtbacke. Beim
Stirlingmotor setzt man als
den einen der beiden
Kolben den dicken Pfeil ein. Der gegenüberstehende Kolben kann wieder
ein
Blindkolben ohne Kompression sein, oder ein Anlenkhebel ohne Kolben als
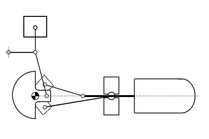
oszillierendes Gegengewicht. In
der Abbildung rechts ist ein
solcher Motor noch ohne
Auswuchtmechanismus dargestellt. Genau wie beim Motor LG1-100 ist das
Arbeiskolbenpleuel (hier rot) zunächst nach links gewandt. Über den
lila
Anlenkhebel wird die geschwungene Schubstange stark beruhigt, so dass
am
Arbeitskolben kein Gelenk mehr nötig ist. (Bei diesem 3D-Modell ist die
Kurbel bereits 150° weitergedreht gezeigt.) Nun
zur Auswuchtung: An den
Kurbelzapfen wird eine
Kröpfung festgeklemmt (hier hellgrün dargestellt), die wiederum einen
Kurbelzapfen besitzt. Die Position dieses zweiten Kurbelzapfens darf
dabei aber
nicht genau gegenüber dem ersten Zapfen sein, sondern genau gegenüber
der
Richtung, in der der dicke Pfeil zeigt. Nun
wird ein zweites Pleuel
(olivgrün) in den neuen
Kurbelzapfen eingehängt und mit dem Anlenkhebel (hellblau) verbunden.
Deutlich
ist die Aufdickung an diesem Hebel zu erkennen, die in unserem Fall
325gmm
Unwucht haben sollten. Dieses Ausgleichsgewicht schwingt jetzt
boxerartig gegen
die beiden anderen Kolben (Arbeits- und Verdrängerkolben). Auswuchtung von 60-
90°-Gamma-Stirlingmotoren Die meisten
Stirlingmotoren
besitzen einen Phasenwinkel von 90° zwischen Verdränger und
Arbeitskolben. Das
ist gut so. Aber besser sind kleinere Winkel. Der Moment des größten
Überdrucks
liegt dann nicht so nah am oberen Totpunkt des Arbeitskolbens, wo er
ohnehin
keine Arbeit verrichten kann, sondern etwas weiter zur Hubmitte. Auch
der
Betrag dieses Überdruck-Peaks liegt tiefer, so dass die Lagerstellen
geschont
werden. Wenn man bedenkt, dass 10% Reduktion der Lagerkräfte eine
Lebensdauer-Erhöhung von 42% bewirkt, so sollte jeder professionelle
Stirlingmotor einen angepassten Phasenwinkel haben. Nur, was
ist angepasst und an
was muss die Anpassung erfolgen? Bei der
Auswuchtungs-Betrachtung
wollen wir von zwei bekannten Grenzmaschinen ausgehen. Das ist einmal
die
Drei-Zylinder-Maschine in W-Bauweise, meist bei handelsüblichen
Kompressoren
realisiert, und die klassische 90°-Maschine, deren Auswuchtung wir hier
als
allererste betrachtet hatten. Bei der
W-Bauweise von
Hochdruck-Kompressoren, hier links abgebildet, liegt der Winkel
zwischen den
Zylindern bei jeweils 60°. Eine solche Maschine braucht gegenüber der
Kurbel
eine rotierende Masse (Kurbelbacke) und ist damit vollständig
ausgewuchtet.
Dabei müssen die Unwuchte der drei Kolben gleich groß sein und die
Unwucht der
Kurbelbacke 50% größer als einer der drei Unwuchte. Betrachtet
man den oberen und
den rechten Kolben als Arbeitskolben und als Verdränger, so
funktionieren wir
den dritten Kolben des Kompressors beim Stirlingmotor als
Ausgleichskolben um.
Da wir trockenlaufende Stirlingmotoren favorisieren, gehören natürlich
Anlenkhebel wieder zum üblichen Geschäft. Wer einen
Stirlingmotor plant,
der durch eine heiße, konzentrierte Flamme beheizt wird (z.B. mit
Erdgas) und
der mit einem Kolbenverhältnis von 1 und Helium laufen soll, der ist
mit einer
60°-Maschine bestens bedient. Aber wer diese mit Stickstoff betreiben
will und
oder als Heizenergie Biogas, Holzgas, Hackschnitzel oder Pellets
angedacht hat
und deshalb auch auf Kolbenverhältnisse von 0,6 bis 0,8 runter geht,
der sollte
70°, 72° oder 75° wählen. Es geht im folgenden also tatsächlich um die
Winkel
zwischen 60° und 90°. Schaut
man genau hin,
dann liegt unser Ausgleichskolben bei der 60°-Maschine genau 90° zur
Winkelhalbierenden von Arbeitskolben und Verdrängerkolben. Das ist kein
Zufall
!!! Wenn man mehrere Berechnungen gemacht hat, entdeckt man, dass das
Prinzip
bei 70° und 80° genauso gilt. Die Winkelhalbierende von 70° ist 35°.
Wenn wir
90° zu dieser Winkelhalbierenden unseren Ausgleichskolben festlegen,
ist die
Maschine wieder ausgewuchtet. Nur der Betrag der Unwucht muss beim
Ausgleichskolben kleiner sein. Um wieviel kleiner? Nun wissen
wir, dass beim
anderen Grenzfall, der 90°-Maschine, der Betrag der Unwucht des
Ausgleichskolbens null sein muss, da es diesen Ausgleichskolben gar
nicht gibt.
Man könnte eine lineare Beziehung vermuten, so dass der Betrag bei
70°-Maschinen nur noch zwei Drittel der Anfangs-Unwucht und bei
80°-Maschinen
ein Drittel der Anfangs-Unwucht ausmacht. Aber es geht hier nicht um
lineare
Beziehungen, sondern um Beziehungen, die mit Cosinus-Berechnungen zu
tun haben,
die ich uns aber ersparen will. Jedenfalls ist die Kurve nicht ganz
gerade, wie
man in der letzten Abbildung sieht. Außerdem kann man auf dieser
Abbildung auch
den Betrag der Unwucht der Kurbelbacke in der gestrichelten Kurve
ablesen.
Damit haben wir dann alles, was wir für die Auswuchtung von
Gamma-Stirlingmotoren mit einem Phasenwinkel zwischen 60° und 90°
brauchen. Ich
wünsche allen Stirling-Machinenbauern gutes Gelingen!
Auswuchtung
von 4-System-Verdrängeranordnungen Bei
90°-Ridermotoren (Alpha-Typ)
war es üblich, die 4 Systeme parallel im Kreis anzuordnen und durch ein
Schiefscheiben-Triebwerk oder ein Taumelscheiben-Triebwerk zu
betreiben. Wie auf dieser
Internetseite
schon mehrfach geschehen, taugt dieser Motor nichts, einmal weil er mit
einer
zu harten Flamme beaufschlagt werden muss, aber andererseits auch
dadurch, dass
die überaus großen Kräfte dieser Maschine nur eine kurze Lebensdauer
der Scheibentriebwerke
nach sich ziehen. Alle derartigen Anstrengungen sind bisher gescheitert. Beim
Stirlingmotor (Beta- und
Gamma-Typ) sind die Kräfte an den Arbeitskolben dagegen ca. 40 %
kleiner, aber
immer noch zu groß für Schiefscheiben-Triebwerke oder
Taumelscheiben-Triebwerke.
Das gilt allerdings nur für die Arbeitskolben. Die Kräfte an den
Verdrängern
betragen nur wenige Prozent davon und sind damit prädestiniert für
diese
Scheiben-Triebwerke!!! Daher ist es durchaus vorstellbar, dass diese
Anordnung
in Zukunft ein Comeback feiert. Links
die Skizze eines
4-System-Stirlingmotors mit zwei doppelwirkenden Arbeitskolben in
V-Anordnung
(für sich ausgewuchtet) und vier oben-liegenden Verdrängerzylindern mit
Taumelscheiben-Antrieb. Die beiden Wellen sind mit einem variablen
Phasenwinkel-Verstellmechanismus (siehe Beitrag „Rekuperation“)
ver-bunden,
hier variables Zahn-riemen-Triebwerk genannt. Die vier Erhitzer tauchen
in ein
Gefäß mit flüssigem Metall (z.B. Zinn) ein, das von einem
Pellet-Brenner beheizt
wird. Betrachtet
man die vier
Verdrängersysteme in ihrem Bewegungsablauf, so sieht man eine
Reihum-Wellenbewegung ähnlich einer Laola-Welle. Diese bewirkt ein
rotierendes
Drehmoment, das immer mit den Totpunkten mitwandert. Dabei müssen die
Massen eines
Verdrängerkolbens mit ihrer Stange und den Maschinenbau-Elementen am
Scheibentriebwerk, die ebenfalls die oszillierende Bewegung des
Verdrängers
mitmachen, zusammen addiert werden. Diese Gesamtmasse (zweimal) wird
nun mit
dem Hub multipliziert und dann noch mit dem Achsabstand zwischen zwei
diagonal
gegenüberliegenden Verdrängern. Das Ergebnis ist das Drehmoment, das
während
des Laufes um die gemeinsame Achse aller vier Verdränger rotiert. Dieses
rotierende Drehmoment
gilt es nun auszuwuchten. Beim
Taumelscheiben-Triebwerk rotiert die Scheibe nicht mit, sondern gehört,
weil sie die oszillierende Bewegung der Verdränger mitmacht, zum oben
genannten rotierenden Drehmoment, das es auszuwuchten gilt. Die
Auswuchtung erfolgt über zwei zusätzliche Massen Z1 und Z2 auf der
Achse (Gewichte mit rotem Pfeil). Das gegenwirkende Drehmoment
errechnet sich aus Z1 plus Z2 mal dem doppelten Achsabstand mal dem
Abstand parallel zur Achse, zu der Stelle, an der Z2 angreift. Dieses
Drehmoment muss wieder so gewählt werden, dass es genau entgegen dem
rotierenden Drehmoment steht, das die Verdrängersysteme verursachen
(grüne Pfeile). Ein rotierendes Drehmoment entsteht auch, bei dem
Verdränger-Triebwerk rechts. Die Verdrängerkolben-Welle (VK) wird auch
hier über ein variables Zahnriemen-Triebwerk oder einer Kette von der
Arbeitskolben-Welle (AK) angetrieben (beide in der gleichen
Drehrichtung). Das Bild zeigt dabei nur die erste Reihe, dahinter liegt
eine zweite Reihe von Kolben. Die
Auswuchtung der vier
Verdrängerkolben übernimmt eine zentrale Achse, die über ein
Winkelgetriiebe von der Verdrängerkolben-Welle angetrieben wird (rot
eingezeichnet). Die zwei Massen Z1 und Z2 erzeugen wieder das
gegenwirkende rotierende Drehmoment, das den Stirlingmotor auswuchtet.
(Nähere Auskunft über die Funktionsweise dieses Quadro-Stirlings beim Autor dieser Internetseite).
Beta-Maschine mit
Phasenwinkel 90°
Und
auch diese Variante teilen wir auf. Zuerst betrachen wir ein System, in
dem
beide Kolben – Verdränger- und Arbeitskolben – gleich schwer sind.
Dieses
System zeichnen wir jetzt so auf, dass die Winkelhalbierende des
Phasenwinkels
genau die Zylinderachse darstellt. Darunter zeichnen wir dann noch
einmal die
Kurbelrichtungen als Pfeile. Diesen Pfeilen geben wir eine bestimmte
Länge: Um
bei unserem Beispiel zu bleiben - für die 22,2gcm wählen wir eine
Pfeillänge von
22,2mm. Dann werden zwei weitere, parallele Pfeile angehängt, so dass
wir ein
Parallelogramm erhalten. Schließlich zeichnen wir einen dicken Pfeil in
der
Mitte ein. Dieser Pfeil besitzt eine Länge von 32,5 mm (32,5gcm), wenn
der
Phasenwinkel
90° berägt.
Beta-Maschine mit einem
Phasenwinkel von weniger als 90°
Bei
einem kleineren Winkel – ein solcher Winkel ist wegen der Schonung der
Lagerstellen und Verlängerung der Lebensdauer ohnehin wünschenswert
(siehe Beitrag Definition
Stirlingmotor /
Ridermotor), kommt ein längerer dicker Pfeil heraus.
Beta-Maschine mit
verschiedenen Massen
Die
ganze Berechnung funktioniert auch, wenn die beiden Kolben nicht
dieselbe Masse
besitzen.Die verschiedenen Massen als verschiedenlange Pfeile
auftragen und ein Parallelogramm zeichnen. Dabei muss das
Parallelogramm so gedreht werden, dass der
dicke Pfeil
wieder auf der Zylinderachse liegt!
Beta-Maschine mit
verschieden langen Kurbelradien

Wir
tun also so,
als ob es nur noch einen Kolben in der Zylinderachse gibt. Schließlich
machen
wir aus dem Beta-Stirling auswuchttechnisch tatsächlich einen
90°-V-Motor, indem
wir 90° zur Zylinderachse einen zweiten Zylinder anbringen. Der Kolben,
der
darin oszilliert, braucht keine Gaskräfte aufzunehmen und der
Kompressionsraum
ist durch einem Bypass mit dem Gehäuse verbunden. Bei trocken laufenden
Stirlingmotoren gilt auch für diesen Kolben, dass er einen Anlenkhebel
benötigt. Aber es geht genauso gut auszuwuchten, wenn man den Kolben
weglässt
und den Anlenkhebel an seinem Gelenkpunkt zum Pleuel hin sehr schwer
macht, bzw.
wenn man umgekehrt das Pleuel an dem Punkt sehr schwer macht. Auf jeden
Fall
muss eine Unwucht von 32,5 gcm aufgebaut werden, um bei unserem
Beispiel
zu
bleiben. Auf der Abbildung links sind nun alle drei Kurbeln zu sehen.
Diese
liegen natürlich hintereinander, damit sie sich nicht ins Gehege kommen.


Stirlingmaschinen mit
Winkelhebelgetriebe
Die Boxer-Auswuchtung
Der oben
angesprochene Effekt
des Wanderns des Überdruck-Paeks taucht vor allem bei Maschinen mit
hoher
Kompression auf. Dagegen gibt es bei Niedertemperatur-Stirlingmotoren
diesen
Effekt kaum. Es geht also wieder mal um das Kolbenverhältnis (KV)
(siehe auch
im Beitrag „Definition Stirling / Rider). Um konkret zu werden, bei
einem Motor
mit einem KV von unter 0,2 lohnt es sich nicht, den Phasenwinkel zu
reduzieren
und die komplizierte Auswuchtung in Angriff zu nehmen, die nun folgt.
Wer aber
einen Leistungs-Stirling verkaufen will, der ein KV von über 0,5
besitzt,
sollte sich auf jeden Fall die Mühe machen.
Die
Auswuchtung von Schiefscheiben-Triebwerken ist dabei am einfachsten, da
die Scheibe selbst ein rotierendes Drehmoment ausübt (rote Pfeile), das
genau entgegen dem rotierenden Drehmoment steht, das die
Verdrängersysteme verursachen (grüne Pfeile). Dabei muss lediglich die
Dicke bzw. die Masse der Scheibe auswuchtmäßig angepasst werden.